开yunapp体育官网入口下载手机版 一种多功能综合训练器的制作方法

本实用新型属于健身器材技术领域,具体涉及一种多功能综合训练器。
背景技术:
健身器材常根据训练功能的多少分为单一功能和综合多功能两大类。常用的有划船机、健身车、步行机、跑步机、腰部美容机等,其主要功能有: 增强臂力:哑铃握力器 多功能仰卧起坐划船机:主要用于增强臂力、背阔肌和动作协调。 amt健身运动机:与其他健身方式不同,用户可以在爬楼梯、散步、慢跑和长跑等不同运动模式之间自由切换,完全零冲击的体验。您可以利用这种即时切换模式功能来调整您的训练模式,以达到训练特定肌肉群的目标。椭圆跑步机:平滑运动轨迹和交叉坡度的专利技术,让用户以生物力学姿势锻炼肌肉群,增加锻炼的多样性和有效性。零阻力运动减少肌肉拉伤的发生。健美自行车:锻炼时,像骑自行车一样,主要用来增强腿部力量,增强心血管功能。步行车:主要用于锻炼腿部、腰部、腹部肌肉和心肺功能。跑步机:主要用于锻炼腿部、臀部、腰部、腹部肌肉和心肺功能。腰部美容机:可对腰部、背部进行放松按摩。综合多功能机:一般包括扩胸器、引体向上、仰卧推举、仰卧起坐等器械的功能。扩胸器、引体向上、仰卧推举主要用于锻炼上肢力量和胸大肌力量;仰卧起坐主要是用来锻炼腰肌,减少腰腹部多余的脂肪。现有的训练器大多结构简单、功能单一,无法满足大多数人的运动需求。而且占地面积大,不方便人们使用。
技术实现要素:
本实用新型的目的是提供一种功能齐全、能满足大多数人健身需要、结构紧凑、占用空间小、对锻炼者有良好保护作用的多功能综合训练器。
为了实现上述技术目的,本实用新型所采用的技术方案如下:
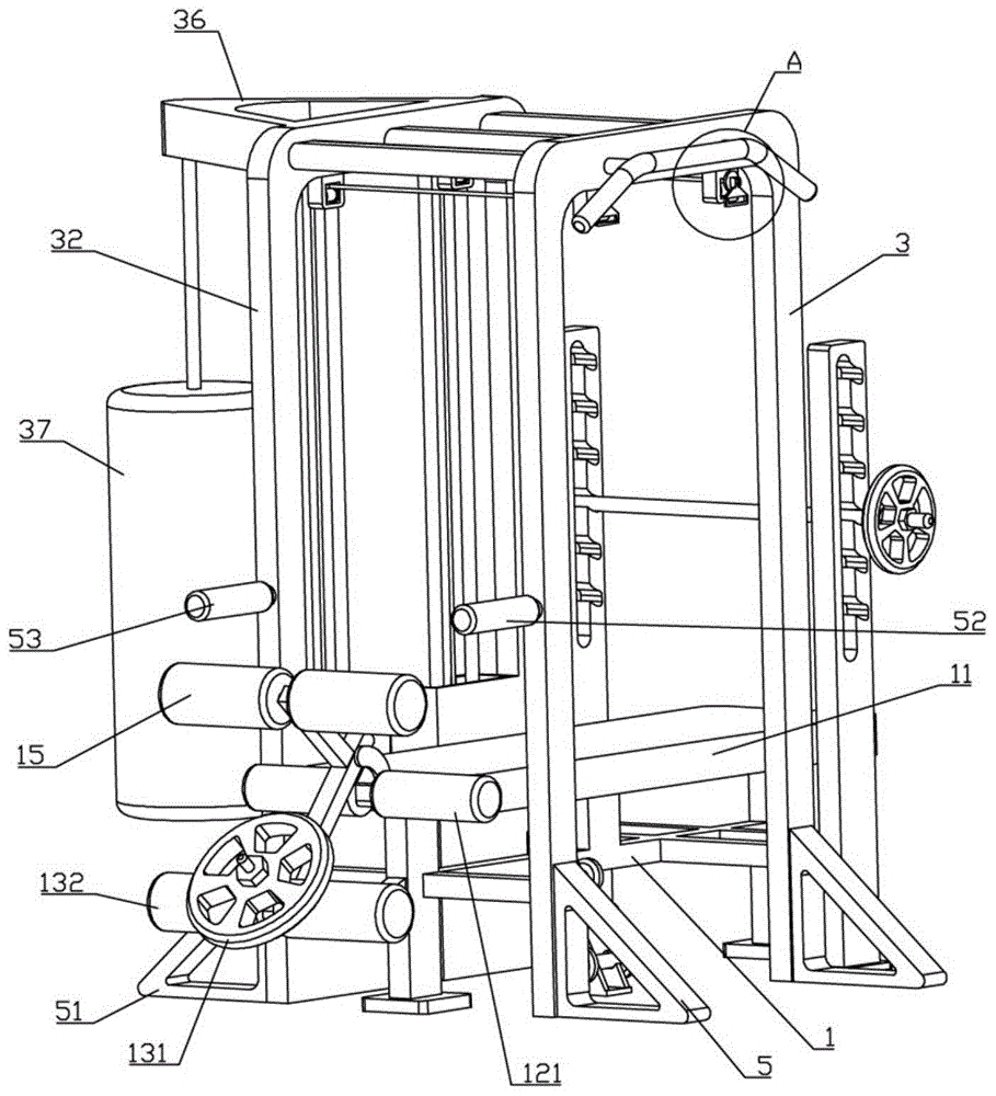
一种多功能综合训练器,包括支架,支撑板的上侧设有睡板,睡板的前侧设有固定部,睡板的左右两侧设有第一海绵管。固定部,固定部远离第一分支,可旋转地连接于睡板的一侧。第一配重可拆卸地组装于第一分支远离固定件的一侧。第一配重的左右两侧设有与第一分支固定连接的第二海绵管。支架设有与第一分支相匹配的顶件。第一分支靠近固定件的一侧设有第二分支。第二分支为第三海绵管,对称地设置在分支杆远离固定件的一侧。支架远离固定件的一侧对称固定有支撑杆。其中两根支撑杆上设有滑槽。槽内装有杠铃,滑槽底部高于睡板,两根支撑杆垂直均匀地设有若干与滑槽连接的锁眼,其一侧设有第一框架。括号。第一框架的上侧固定连接有水平杆,支架的另一侧设置有第二框架,第一框架的左右两侧对称设置有第一钢丝滑轮,两个第一钢丝滑轮设有拉线,第二框架设有与两个第一线滑轮的位置相配合的两个第二线滑轮。两根拉线的一端穿过第二线滑轮并设有牵引机构。拉线的另一端穿过第二线滑轮并固定连接有拉手。第二框架固定连接有三脚架,三脚架下侧安装有沙袋。
采用本实用新型的技术方案,锻炼者可以坐在睡板的上侧,将双脚的大腿放在两个第一海绵管上开yunapp体育官网入口下载手机版,然后用脚勾住第二海绵管。由于第二海绵管穿过A杆而与固定件可转动地连接。此时,锻炼者可以进行抬腿动作,尽量将小腿保持在大腿的水平,以锻炼锻炼者的腿部。第一配重的设置增加了训练的强度。当锻炼者不使用第一配重时,可以将第一配重拆卸,以降低锻炼者的锻炼强度;人可以躺在床上,将两脚的大腿放在第一两个海绵管上,然后用两脚的脚后跟分别钩住第三两个海绵管。此时,锻炼者可以弯曲双腿。动作,使小腿尽可能靠近大腿,锻炼者的腿部得到锻炼,同上,第一配重块的设置增加了训练的强度,不使用时可以将第一配重块移除使用中;顶片限制第一分支的位置,防止第一分支向下转动角度过大开yun体育app入口登录,对锻炼者造成伤害。锻炼者可躺在长凳上侧,双手举起杠铃进行卧推,锻炼锻炼者的手部和胸部。当锻炼者进行卧推时,杠铃在滑槽内滑动,以限制杠铃的位置,滑槽的底部位于高卧板上,可以防止锻炼者在杠铃不动作时出错。摔倒砸到锻炼者,从而保护锻炼者。几个锁孔的设置可以根据锻炼者双手的长度来确定杠铃的放置位置,增加了该装置的实用性,并且可以在锻炼者筋疲力尽时,选择附近合适的一个杠铃放置在锁孔中,以达到锻炼目的。提高锻炼者的安全性;练习者可以利用单杠进行引体向上练习;第二架上装有沙袋,练习者可以利用沙袋进行一些拳击训练。锻炼者可以两只手分别握住手柄,通过两根拉线拉动两个牵拉机构,方便锻炼者进行一些伸展训练。本实用新型结构简单、设计合理、功能齐全,能满足大多数人的健身需要,且结构紧凑、占地面积小。占地面积小,对锻炼者的保护效果好。
进一步限定的是,所述牵引机构包括放置盒、固定块、多个第二配重块、两个滑杆、锁紧杆和限位杆,多个第二配重块组装在放置盒内。 ,因此固定块组装在若干个第二配重块的顶部并与拉线固定连接。固定块的下侧与限位杆固定连接。限位杆上设有垂直均匀阵列,限位杆内分布有多个第一限位器。多个第二配重块上设有与限位杆配合的通孔,多个第二配重块前侧设有与第一限位孔配合的第二限位孔,锁杆的一端穿过将第二限位孔锁入第一限位孔中,放置盒上设有与锁紧杆配合的通槽,两滑杆的下端固定连接于放置盒的底部,两滑杆与固定块及若干第三块连接 两个配重块左右两侧设有两个滑杆,两个滑杆的上端固定连接于第二框架。锻炼者拉动手柄,通过拉线拉动固定块。固定块带动限位杆上下移动。将限位杆插入若干个第二配重块的通孔中,然后根据需要选择合适的第二配重块,并通过锁紧杆锁入合适的第二配重块的第二限位孔中,并锁入第一限位孔中。两个滑杆对固定块和第二配重块进行限位,防止固定块和第二配重块摆动。这种结构方便锻炼者使用,并且方便锻炼者根据需要调节拉力重量,从而调节锻炼强度。
进一步限定的是,第一框架和第二框架之间设置有稳定杆。这种结构增加了第一框架和第二框架之间的稳定性。
进一步限定,所述第一框架的右侧固定连接有第一稳定框架,所述第二框架固定连接有第二稳定框架。这种结构增加了整个装置的稳定性并防止装置在使用时倾翻。
进一步限定的是,所述第一框架与第一手柄固定连接,所述第二框架与第二手柄固定连接。这样的结构使得锻炼者坐在凳子上进行抬腿练习时,更容易双手分别握持第一手柄和第二手柄,从而增加了身体的稳定性。
进一步限定的是,所述支架的下侧设有放置架,所述放置架上设有多个哑铃。这样的结构很好地利用了睡板下方的空间,增加了装置的实用性,也方便锻炼者使用哑铃进行锻炼。
与现有技术相比,本实用新型具有以下优点:
结构简单、设计合理、功能齐全。能够满足大多数人的健身需求,方便锻炼者全面锻炼。整体结构紧凑,占用空间小,方便锻炼者放置,有利于锻炼者的锻炼。保护效果好,能够尽可能的防止锻炼者在运动过程中发生意外。
附图说明
本实用新型可通过附图中给出的非限制性实施例进一步解释。
图1为本发明多功能综合训练器实施例的结构示意图;
图2是图1中a位置放大结构示意图;
图3为本发明多功能综合训练器实施例的结构示意图二;
图4是图3中b的放大结构示意图;
图5为本发明多功能综合训练器实施例结构示意图三;
图6为本发明多功能综合训练器实施例的剖面结构示意图;
主要元件符号解释如下:
支架1、放置架10、哑铃101、睡板11、固定件12、第一海绵管121、第一分支13、第一配重131、第二海绵管132、顶片133、第二分支杆14、第三海绵管15、支撑杆2、滑槽20、杠铃201、锁孔21、第一框架3、稳定杆30、单杠31、第二框架32、第一导向线轮33、拉线34、第二线轮341、拉手35、三脚架36、沙袋37、放置盒4、固定块40、通槽401、第二配重块41、第二限位孔411、滑杆42、锁定杆43、限位杆44、第一通孔441限位孔45、第一稳定件5、第二稳定件51、第一手柄52、第二手柄53。
具体实施
为了使本领域技术人员更好地理解本实用新型,下面结合附图和实施例对本实用新型的技术方案进行进一步说明。
如图1-6所示,本发明的多功能综合训练器包括支架1,支撑板1的上侧设有睡板11,支撑板1的前侧设有固定部12。睡板11。固定件12位于左右两侧。侧面设有第一海绵管121,固定件12远离床体11的一侧可转动地连接有第一分支13。第一分支13远离床体11的一侧可拆卸地安装有第一分支13。固定件12。配重131左右两侧设有与第一分支13固定连接的第二海绵管132。支架1设有顶部与第一分支13配合的片133。有第二分支杆14,第二分支杆14远离固定件12的一侧对称设置有第三海绵管15。支撑杆1对称地固定在第二分支杆14上。支架1远离固定件12的左右两侧均设有滑槽20。滑槽20上设有杠铃201。滑槽20的底部高于睡板11。两根支撑杆2垂直均匀地设有若干与滑槽20连接的锁孔21。支架1具有a 一侧设置有第一框架3,第一框架3的上侧固定连接有横杆31,设置有第二框架32在支架1的另一侧,第一框架3的左右两侧对称设置有第一钢丝滑轮33,两个第一钢丝滑轮33均设有拉线34。第二框架32上设有两个第二钢丝滑轮33。与两个第一线轮33的位置相匹配的线轮341。两个拉线34的一端穿过第二线轮341,并设有牵引机构。 ,两根拉线34的另一端穿过第二线滑轮341与拉手35固定连接。第二框架32与三脚架36固定连接,三脚架36的下侧设有沙袋 37.
采用本实用新型的技术方案,锻炼者可以坐在睡板11的上侧,将双脚的大腿放在两个第一海绵管121上,然后用脚勾住第二海绵管132。由于第二海绵管132通过第一分支13可转动地连接于固定件12,此时,锻炼者可以进行抬腿动作,并尽量将小腿保持在大腿的水平位置,以达到锻炼的目的。锻炼锻炼者的腿部。第一配重块131的设置增加了训练的强度。当锻炼者不使用第一配重块131时,可以将第一配重块131移除,以降低锻炼者的锻炼强度;锻炼者可以躺在床11上,将双脚的大腿搁在两个第一海绵管121上,然后用双脚的脚后跟分别勾住两个第三海绵管15,此时进行锻炼。人可以进行腿部弯曲动作,使小腿尽可能靠近大腿,对人的腿部进行锻炼。锻炼时,同上,第一配重块131的设置增加了训练强度,并且第一配重块131在不使用时可以拆卸;顶片133限制第一支杆13的位置,防止第一支杆13向下翻转角度过大,对锻炼者造成伤害。锻炼者可以躺在板11的上侧,双手举起杠铃201进行卧推,锻炼锻炼者的手部和胸部。当锻炼者进行卧推时,杠铃201在滑槽20内滑动,杠铃201得到锻炼。滑槽20的底部高于水平板11,可以防止锻炼者失误时,杠铃201不会掉落砸到锻炼者,从而保护锻炼者。多个锁孔21的设置可以根据锻炼者手的长度来确定杠铃201的放置位置。增加了本装置的实用新型,可以在锻炼者力竭时使用,选择合适的锁孔21将杠铃201放置在附近,增加锻炼者的安全性。锻炼者可以通过单杠进行引体向上练习;第二框架32上设有沙袋37,锻炼者可以通过沙袋37进行一些拳击训练。锻炼者可以双手握住两个滑轮手柄35,通过两根拉线拉动两个牵拉机构,方便锻炼者进行一些伸展训练。本实用新型结构简单,设计合理,功能齐全,能满足大多数人的健身需要,且结构紧凑。占用空间小,对锻炼者有良好的保护作用。
优选地,所述牵引机构包括放置盒4、固定块40、多个第二配重块41、两个滑杆42、锁紧杆43和限位杆44,多个第二配重块41组装成一体。放置盒4中,固定块40组装在若干个配重块41的顶部,固定连接有拉线34。固定块40的下侧为与限位杆44固定连接。限位杆44上设有垂直均匀排列的多个第一限位孔45和多个第二限位孔45。配重块41上设有与限位杆44相配合的通孔441、多个第二配重块41前侧设有与第一限位孔45相配合的第二限位孔411,锁杆43一端穿过第二限位孔411。放置盒4的限位孔45内设有与通槽401配合的锁紧杆4 3 ,两滑杆42的下端固定连接于第一限位孔411内。放置盒4,固定块40和多个第二配重块41的左右两侧设置有两个滑杆42,两个滑杆的上端42固定连接至第二框架32。锻炼者拉动拉手35,通过拉线34拉动固定块40。固定块40带动限位杆44上下移动。将限位杆44插入多个第二配重块41的通孔441中,然后根据需要选择合适的。第二配重块41通过锁杆43锁入相应的第二配重块41中。两滑杆42在第二限位孔411内并锁入第一限位孔45中,对固定块40和第二配重块进行限位。防止固定块40与第二配重块41碰撞。摇摆,这样的结构方便锻炼者使用,方便锻炼者根据需要调节拉力重量,从而调节锻炼的强度。事实上,也可以根据具体情况考虑其他结构,以方便锻炼者进行伸展训练。
优选地,第一框架3和第二框架32之间设置有稳定杆30。这种结构增加了第一框架3和第二框架32之间的稳定性。事实上,也可以根据具体情况考虑其他结构,以增加第一框架3与第二框架32之间的稳定性。
优选地,第一稳定框架5固定连接于第一框架3的右侧,第二稳定框架51固定连接于第二框架32。这种结构增加了整个装置的稳定性并防止装置在使用时倾翻。事实上开yun体育app官方下载入口,还可以根据具体情况考虑其他结构,以增加整个装置的稳定性,防止装置在使用时发生翻倒。
优选地,第一手柄52与第一框架3固定连接,第二手柄53与第二框架32固定连接。这样的结构便于锻炼者坐在凳子11上进行抬腿练习时,双手分别握住第一手柄52和第二手柄53,从而增加了身体的稳定性。事实上,也可以根据具体情况考虑其他结构,以方便锻炼者坐在长凳11上进行抬腿练习时增加身体的稳定性。
优选地,支架1的下侧设置有放置架10,放置架10上安装有多个哑铃101。这样的结构很好地利用了睡板11下侧的空间,增加了装置的实用性,也方便锻炼者使用哑铃101进行锻炼。事实上,还可以根据具体情况考虑其他结构,增加了装置的实用性,也方便锻炼者使用哑铃101进行锻炼。
以上实施例仅用于说明本发明的原理及效果,并不用于限制本发明。任何熟悉本技术的人都可以在不脱离本发明的精神和范围的情况下修改或改变上述实施例。因此,本技术领域的普通技术人员在不脱离本发明公开的精神和技术思想的情况下所做的等同修改或变化,仍应包含在本发明的权利要求范围内。
客户评论
-
2024-12-08 02:30:37 留言:有品位!http://fqbms.68521.cn
-
2024-12-08 02:38:04 留言:很经典,收藏了!https://www.telegramlp.com/
-
2024-12-08 02:51:56 留言:东方不败外加灭绝师太啊!https://www.telegramis.com/
-
2024-12-08 02:53:46 留言:我回帖楼主给加积分吗?https://www.telegramsoe.com
-
2024-12-08 02:59:07 留言:最近回了很多帖子,都没人理我!http://34g.6782u.com
-
2024-12-08 03:07:26 留言:经典!https://www.telegrambzh.com
-
2024-12-08 03:40:08 留言:被楼主的逻辑打败了!https://www.telergma.com
-
2024-12-08 04:12:27 留言:看在楼主的面子上,认真回帖!https://www.telegrampc.com
-
2024-12-08 04:48:25 留言:支持一下,下面的保持队形!https://www.clashis.com/
-
2024-12-08 05:23:15 留言:知识就是力量啊!https://www.clashis.com/
-
2024-12-08 05:23:27 留言:写的太好啦,评论一个https://www.skypeis.com/
-
2024-12-08 05:29:29 留言:楼主是一个神奇的青年!http://8fsq2.hdwssf.com
-
2024-12-08 05:45:43 留言:看帖不回帖的人就是耍流氓,我回复了!https://www.clashis.com/
-
2024-12-08 06:07:11 留言:东方不败外加灭绝师太啊!http://rfc98x.tresfjording.com
-
2024-12-08 06:10:30 留言:楼主发几张靓照啊!https://www.telegrabmm.com
-
2024-12-08 06:12:19 留言:楼主该去看心理医生了!http://2jr.68521.cn
-
2024-12-08 06:19:20 留言:楼主英明!https://www.telegrabmm.com
-
2024-12-08 06:48:36 留言:在哪里跌倒,就在那里多爬一会儿!https://www.telegramlp.com/
-
2024-12-08 07:39:47 留言:顶顶更健康!https://www.telegramlp.com/
-
2024-12-08 07:57:51 留言:楼主很有经验啊!https://www.ch-telegram.com
-
2024-12-08 08:39:49 留言:鸟大了,什么林子都敢进啊!http://yh5n4.lqyzx.info
-
2024-12-08 09:05:25 留言:楼主的头像能辟邪啊!https://www.clashis.com/
-
2024-12-08 09:38:26 留言:信楼主,得永生!https://www.telegramlp.com/
-
2024-12-08 09:50:03 留言:收藏了,改天让朋友看看!http://xe0lc.68521.cn
-
2024-12-08 10:01:36 留言:这个帖子会火的,鉴定完毕!https://www.telegramuc.com/
-
2024-12-08 10:02:46 留言:经典!http://e8pg.dkpvc.com
-
2024-12-08 11:38:14 留言:帖子很有深度!https://www.telegramseo.org
-
2024-12-08 12:16:03 留言:管它三七二十一!https://www.telegramis.com/
-
2024-12-08 12:34:15 留言:十分赞同楼主!http://pz0.17bys.com
-
2024-12-08 12:43:31 留言:网站做得不错https://www.telegramdown.org
-
2024-12-08 12:58:14 留言:楼上的真不讲道理!https://www.telegramnn.com
-
2024-12-08 13:10:55 留言:我默默的回帖,从不声张!http://8ouxgo.68521.cn
-
2024-12-08 13:11:34 留言:太高深了,理解力不够用了!https://www.skypeis.com/
-
2024-12-08 13:17:58 留言:支持一个http://dpq0.810192.com
-
2024-12-08 13:38:03 留言:我默默的回帖,从不声张!https://www.telegramuc.com/
-
2024-12-08 13:59:31 留言:鉴定完毕!https://www.telegramuc.com/
-
2024-12-08 14:06:34 留言:论坛的人气不行了!https://www.clashis.com/
-
2024-12-08 14:45:52 留言:楼主是好人!https://www.skypeis.com/
-
2024-12-08 14:59:39 留言:经典!http://b9s.68521.cn
-
2024-12-08 15:21:35 留言:楼上的很有激情啊!https://www.telegramep.com
-
2024-12-08 15:37:01 留言:有品位!https://www.telegramep.com
-
2024-12-08 15:58:35 留言:语言表达流畅,没有冗余,读起来很舒服。https://www.clashis.com/
-
2024-12-08 16:54:06 留言:学习雷锋,好好回帖!http://4ir95.ddobox.com
-
2024-12-08 16:59:55 留言:对牛弹琴的人越来越多了!https://www.skypeis.com/
-
2024-12-08 17:12:55 留言:在这个版块混了这么久了,第一次看见这么给你的帖子!https://web.telegram.shopping
-
2024-12-08 19:15:18 留言:坚持回帖!https://www.clashis.com/
-
2024-12-08 20:19:07 留言:感觉不错!http://oh7.gaohgroup.com.cn
-
2024-12-08 20:20:45 留言:管它三七二十一!https://www.telegramuc.com/
-
2024-12-08 20:27:01 留言:很多天不上线,一上线就看到这么给力的帖子!https://www.desktoptg.com
-
2024-12-08 20:32:24 留言:这一年啥事没干,光研究楼主的帖子了!https://www.telegramip.com/
-
2024-12-08 20:32:50 留言:宇宙第一贴诞生了!http://ne8tp.fhcjw.com
-
2024-12-08 20:49:06 留言:我只是来赚积分的!https://www.telegraamm.com
-
2024-12-08 21:11:32 留言:好好学习楼主的帖子!http://7ns4a.doubletreekeywest.com
-
2024-12-08 21:12:55 留言:写得实在太好了,我唯一能做的就是默默顶贴!https://www.telegramlp.com/
-
2024-12-08 21:13:39 留言:好东西,学习学习!http://1o9e6.gaohgroup.com.cn
-
2024-12-08 21:34:01 留言:一口气看完了,我要下去回味回味了!https://www.desktoptg.com
-
2024-12-08 21:51:54 留言:最近压力山大啊!https://www.skypeis.com/
-
2024-12-08 22:56:37 留言:白富美?高富帅?https://www.ch-telegram.com
-
2024-12-08 22:57:54 留言:在这个版块混了这么久了,第一次看见这么给你的帖子!https://www.skypeis.com/
-
2024-12-08 23:28:47 留言:听楼主一席话,省我十本书!http://oql.gaohgroup.com.cn
-
2024-12-09 00:04:02 留言:每次看到楼主的帖子都有惊吓!https://www.telegramuc.com/
-
2024-12-09 00:04:39 留言:看了这么多帖子,第一次看到这么有深度了!https://www.telegramip.com/
-
2024-12-09 00:26:15 留言:这一年啥事没干,光研究楼主的帖子了!https://www.telegramip.com/
-
2024-12-09 00:52:11 留言:在哪里跌倒,就在那里多爬一会儿!http://wcdm.tno-yotaka37upc.com
-
2024-12-09 01:24:36 留言:楼主的帖子越来越有深度了!http://x86zdf.tzjrfz.com.cn
-
2024-12-09 01:39:13 留言:不错的帖子,值得收藏!http://1470b7.gaohgroup.com.cn
-
2024-12-09 01:57:19 留言:楼主该去看心理医生了!https://www.telegramuc.com/
-
2024-12-09 02:21:22 留言:视死如归的架势啊!https://www.skypeis.com/
-
2024-12-09 02:31:08 留言:精华帖的节奏啊!http://6jf.hhh961.com
-
2024-12-09 02:32:48 留言:以后要跟楼主好好学习学习!https://www.skypeis.com/
-
2024-12-09 02:50:19 留言:我和我的小伙伴都惊呆了!http://i4e1.baytip.com
-
2024-12-09 02:55:06 留言:顶一个!https://www.clashis.com/
-
2024-12-09 05:05:52 留言:怎么我回帖都没人理我呢?http://9g8.xdbgy.com
-
2024-12-09 05:12:03 留言:楼主看起来很有学问!https://www.telegramip.com/
-
2024-12-09 05:38:07 留言:每次看到楼主的帖子都有惊吓!https://www.skypeis.com/
-
2024-12-09 05:47:27 留言:楼主的文笔不错!https://www.clashis.com/
-
2024-12-09 06:06:44 留言:听楼主一席话,省我十本书!http://rg7xq.tzjrfz.com.cn
-
2024-12-09 06:44:03 留言:最近压力山大啊!https://www.clashis.com/
-
2024-12-09 09:35:40 留言:网站做得不错https://www.clashis.com/
-
2024-12-09 10:14:04 留言:今天过得很不爽!https://www.telegramlp.com/
-
2024-12-09 12:50:40 留言:不灌水就活不下去了啊!https://www.telegramip.com/
-
2024-12-09 13:51:05 留言:语言表达流畅,没有冗余,读起来很舒服。https://www.telegramlp.com/
-
2024-12-09 14:28:42 留言:很给力!https://www.telegramxp.com/
-
2024-12-09 14:28:51 留言:无图无真相!https://www.telegramnn.com
-
2024-12-09 15:07:16 留言:今天过得很不爽!https://www.telegramxp.com/
-
2024-12-09 15:40:10 留言:赞一个!https://www.skypeis.com/
-
2024-12-09 16:11:45 留言:吹牛的人越来越多了!https://www.clashis.com/
-
2024-12-09 16:38:29 留言:以后就跟楼主混了!https://www.skypeis.com/
-
2024-12-09 17:12:56 留言:帖子很有深度!https://www.skypeis.com/
-
2024-12-09 20:07:21 留言:楼主写的很经典!http://4bq.0380.top
-
2024-12-09 22:41:52 留言:吹牛的人越来越多了!https://www.clashis.com/
-
2024-12-09 23:08:25 留言:以后要跟楼主好好学习学习!https://www.telegramip.com/
-
2024-12-09 23:44:04 留言:写得实在太好了,我唯一能做的就是默默顶贴!https://www.telegramip.com/
-
2024-12-10 00:05:36 留言:楼主的帖子提神醒脑啊!https://www.telegramcos.com
-
2024-12-10 00:42:14 留言:关注一下!http://0yakj.gaohgroup.com.cn
-
2024-12-10 00:45:32 留言:我就搞不明白了,看帖回帖能死人么,居然只有我这么认真的在回帖!https://www.telegramip.com/
鲁ICP备18019461号-4
我要评论